1979b

The following is a U.K. Patent Application by Harold Aspden filed on August 18, 1977 with a publication date of February 29, 1979

U.K. PATENT APPLICATION NO. 2,002,953


'ION ACCELERATORS AND ENERGY TRANSFER PROCESSES'

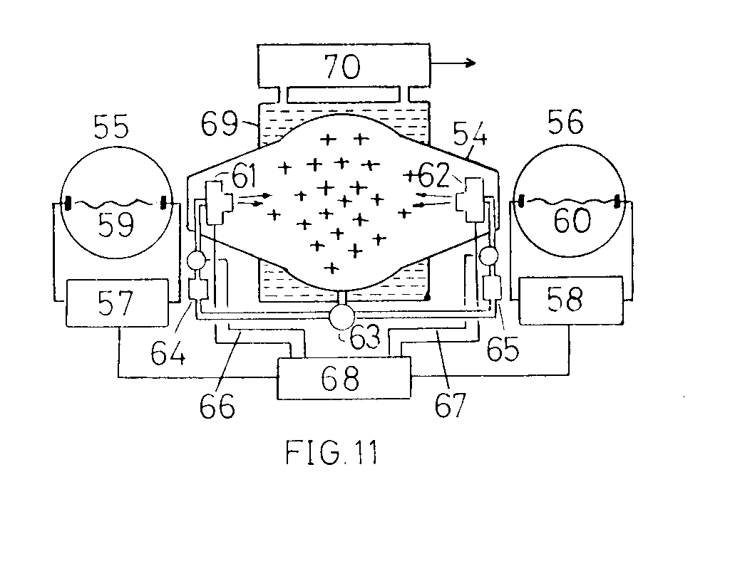
Abstract: Ions are accelerated by subjecting them to the electrodynamic effects of a driving circuit comprising a separate closed circuital current which in one circuit segment comprises an electron flow in a conductor and in another segment comprises at least partially a flow of ions. The invention applies a general law of electrodynamics published in the Journal of the Franklin Institute in 1969 at page 179 of volume 287 ([1969a] in these Web page abstracts), which concerned anomalous cathode forces attributed to the action of electrons upon ions carrying current in the same closed circuit. The invention also has application to energy transfer processes dependent upon th catalytic action of high energy ions. Various apparatus is disclosed. In Fig. 11, for example, the driving circuits 55,56 comprise cold cathode gas discharge systems excited by high voltage pulse generators 57,58 and they accelerate ions from sources 61,62 towards the centre of housing 54. Cooling jacket 69 extracts heat from the housing and supplies it to power generator 70. In another arrangement two adjacent oppositely directed ion beams serve as the driving circuit for each other.